Select your region & language

AMR Sensors (Magnetic Sensors)Omnidirectional (3D) detection sensor

These products are magnetic switches for detecting magnetic fields from the XYZ 3-axis or multi-axis directions.
You can use these products for external magnetic field detection for various devices and for applications to detect wide-ranging magnetic fields regardless of the magnetic field direction.

Series Lineup

Features

  • Magnetic switches whose output turns ON / OFF when a magnetic field is applied to them
  • Unique AMR mechanism achieves omnidirectional (3D) magnetic field detection
  • Supports replacement needs for reed switch failures and miniaturization

Magnetic field detection diagram

Since the omnidirectional AMR sensor detects irregular magnetic fields from all directions in the XYZ 3-axis directions, it can also detect the direction of various magnets, such as those shown in (1) – (5). The alternative method of using a Hall effect sensor would only detect magnetic fields from the direction of (1) in the diagram.

When you want to detect magnetic fields in all directions, the omnidirectional AMR sensor is more compact and more cost effective compared with using multiple Hall effect sensors. (Since the distance changes when the omnidirectional AMR sensor turns ON / OFF depending on the direction of the magnet, the ON range may not be spherical.)

Image of magnetic field detection

Comparison of Omnidirectional AMR Sensors and Reed Switches

  • Swipe left or right to change screens View in landscape mode
    Fig 1 of comparison
  • Fig 2 of comparison

The above figure is a comparison of the ranges in which a reed switch and the MRMS591P will switch on when using the same magnet.
It plots the distance at which the magnetic sensor (MRMS591P or reed switch) switches on when a ferrite magnet (10 × 6 × 18 mm) is brought into proximity from above while the magnetic sensor is located at each position indicated by the coordinates (0,0).

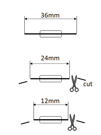
Data for reed switches is provided for states in which the length of the lead wires is 36 mm (uncut), and when shortened to 24 mm and 12 mm, because the lead wires of the product are usually subjected to forming when mounted on the substrate. Reed switch 36 mm, 24 mm, and 12 mm show the locations where the reed switch switches on for each of the lead wire lengths. Others indicate an off (open) condition.

The MRMS591P switches on in the area enclosed by the red line. In this example, the area in which the magnetic sensor switches on is larger for the MRMS591P than for the reed switch when both ends of the lead wires are subjected to forming affecting 6 mm or more.

The detection area of a reed switch is similar to that of an omnidirectional AMR sensor.
Depending on factors such as the forming of the lead wires of the reed switch and the characteristics of the magnet, the AMR sensor may have a larger detection area than a reed switch. In such cases, it may be possible to achieve the same operation using a smaller magnet, which can enable more compact devices and simplify the layout design.

Refer to the AMR sensor simulation to find out the switch-on range when using the current magnet.

Comparison with Reed Switches with Photos

Since ON detection can be performed in the same way as with a reed switch, there are many cases where it is not necessary to change the magnet. (Alternative methods require changes to the magnet and the layout.)

Image 1 of comparison

The AMR sensor usually operates with the same magnet and in the same position as the reed switch.

Image 2 of comparison

A conventional AMR sensor switches off when a magnetic field impinges on it at greater than a certain angle.
(The LED on the AMR sensor side turns off.)

One characteristic of conventional AMR sensors is that they switch off sooner than a reed switch when the magnet’s magnetic field impinging on it changes from a horizontal to an oblique orientation.

  • Image 3 of comparison
  • Image 4 of comparison
  • Image 5 of comparison

An AMR sensor with omnidirectional sensing characteristics switches on in response to the strength of the magnetic field, regardless of its orientation, so its detection angle range is wider than that of a conventional AMR sensor or reed switch.
In cases where it is anticipated that magnetic fields may impinge on the product from a variety of directions, such as antitheft applications or detection of anomalous magnetic fields, an AMR sensor with omnidirectional sensing characteristics may be more suitable than a reed switch.

Application examples

  • Detection of irregular magnetic fields in power meters
  • Other applications to detect wide-ranging magnetic fields regardless of the magnetic field direction

Inquiries

Contact us below for purchasing or any questions or other inquiries about AMR sensors.