Select your region & language

Outline of EMI Suppression Filters (EMC and Noise Suppression)Common Mode Choke Coils/Common Mode Noise Filters

DL□/PL□/NFG/NFP series

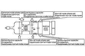
Common mode choke coils (CMCC) are filters that reduce common mode noise that is problematic in differential transmission lines (non-automotive use: USB, HDMI, Mipi, etc.; automotive use: CAN, CAN-FD, 100Base-T1, 1000Base-T1, SerDes, A²B™, etc.), power lines, and audio lines.
They are ideal for suppressing common mode noise with frequencies ranging from several megahertz to several hundred megahertz with no adverse effect on the signals (upper cut-off frequency).
Products can also be searched by series or application.

DL-PL Series

Products Search

Selection tools

Common Mode Choke Coils/Common Mode Noise Filters


Common Mode Choke Coils/Common Mode Noise Filters
Search products by the application for which they are optimal

Selection chart for signal lines

Swipe left or right to change screens View in landscape mode
For Consumer Electronics / Industrial Equipment
USB/MIPI/
Display Port/
HDMI
Click here for a detailed chart of each I/F for Consumer Electronics / Industrial Equipment
USB2.0/3.0/3.1 Display Port 1.4
MIPI D-PHY 1.1/1.2 HDMI 1.4b
MIPI C-PHY 1.0 HDMI 2.0
HDMI 2.1
Swipe left or right to change screens View in landscape mode
For automotive
CAN/FlexRay/
Ethernet
A²B™/LVDS/
USB/HDMI

Selection chart for power lines

① Select by rated current

Swipe left or right to change screens View in landscape mode
For Consumer Electronics / Industrial Equipment
For automotive

② Select by noise frequency band

Swipe left or right to change screens View in landscape mode
Use Under 5A Over 5A
For Consumer Electronics / Industrial Equipment
For automotive
Powertrain/safety
For automotive
Infotainment

Key point in product selection

Key point in product selection

When taking measures to deal with the noise in high-speed differential transmission lines, it is important for the noise to be suppressed while maintaining the signal quality.

Common Mode Choke Coils/Common Mode Noise Filters